Injection Testing: Approach, Tooling & Risk
BixeLab / Biometix — Injection Testing Overview
Objectives
- Validate whether injected artefacts (images / video / requests) reach the capture pipeline.
- Measure detection robustness across client (app) and server layers.
- Produce actionable mitigations to reduce successful injection risk.


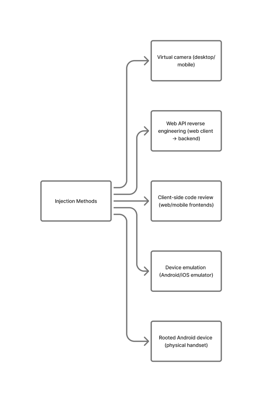
Two Workflows
|
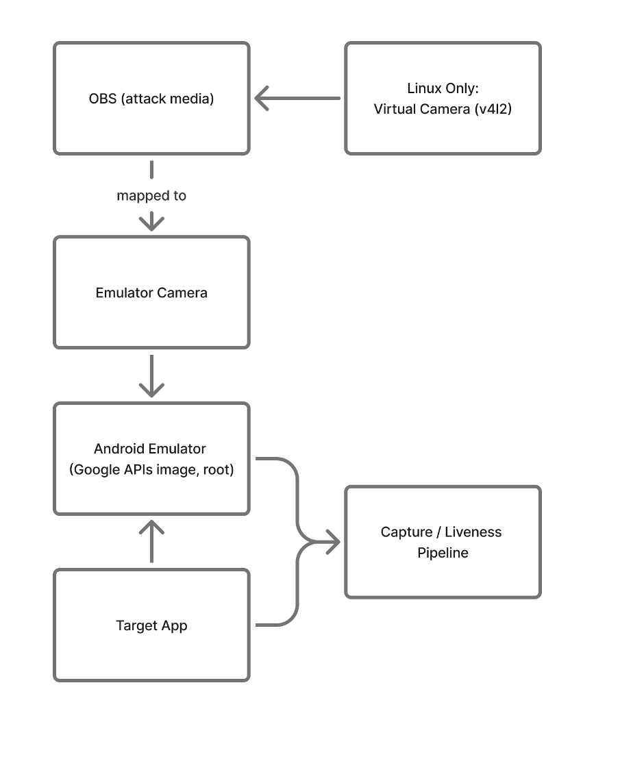
Workflow A: Virtual Sensor
|
Workflow B:
|

Methods & Test Surface
- Device emulation (rooted Android emulators / Google APIs images).
- Rooted physical devices — for low-level control & anti-emulation bypass.
- Virtual camera (OBS → v4l2 / host webcam mapping) to feed crafted video.
- Web API reverse-engineering & replay — capture → reconstruct → replay (with appropriate auth/headers).
- Client-side code review (web + mobile frontends) to identify validation gaps.

Test Volume — Standardisation & Example
Standard run-size = 300 attack transactions per IAM
Formula: 5 transactions × number of IAI species × number of subjects
Example: 5 × 4 IAI × 15 subjects = 300 transactions
Rationale: repeatability, statistical confidence and coverage across IAI species & subjects.
Tooling: Emulator + Virtual Camera (step list)
- Use Google APIs emulator image (rooted) and install target app.
- Map emulator camera to host webcam or virtual device (v4l2 on Linux).
- Use OBS to stream prepared attack media into virtual camera.
- Launch app and drive the IAI sequences.
API Replay: capture HTTPS in browser dev tools → recreate request structure → replay to endpoint (respect auth/headers and crypto where possible).


Challenges & Limitations
- Emulator detection — apps may refuse or degrade functionality.
- App protections — signature/integrity checks can block modified packages.
- Encrypted/signed payloads — replay may fail without correct crypto/keys.
- Virtual camera detection — anti-virtual-device checks or metadata validation.
- System security controls & timing — OS-level protections and runtime timing cause failures.
Implication: use hybrid approach (emulator + rooted devices), document unavoidable gaps and residual risk.
Reporting, Metrics
Reporting & Metrics
- Per-attempt evidence (video frames, request captures, logs).
- Compute APCER (Attack Presentation Classification Error Rate) & BPCER (Bona Fide Presentation Classification Error Rate).
- Per-IAM results, reproducible artifacts, confidence intervals.
Mitigations
Risk Insights & Mitigations
- Device binding & attestation (hardware IDs, secure elements).
- Camera-property checks (sensor metadata, rolling-shutter / noise fingerprints).
- Loop/static & playback detection (motion, physiological signals).
- Strengthen client integrity (code signing, runtime attestation) and server validation (schema + crypto checks).
- Recommend red-team follow-up, regression tests and continuous monitoring.
Suggested Outcomes
Deliverables
- Full test log + per-attempt evidence.
- APCER/BPCER calculations and confidence ranges.
- Prioritised remediation roadmap.
Running the attacks
- Confirm subject/sample counts & IAI species list.
- Choose platforms (iOS / Android / Web) and device mix (emulator vs real).
- Schedule test window and acceptance criteria.
Standards & Guidance (EU / European / international)
-
CEN/TS 18099 — Biometric data injection attack detection (European technical specification).
https://standards.iteh.ai/catalog/standards/cen/43336798-87a4-49d1-9a0b-4e74c73345a7/cen-ts-18099-2024 -
ENISA — Remote Identity Proofing: Good Practices (covers injection / video injection threats and countermeasures). https://www.enisa.europa.eu/sites/default/files/2024-11/Remote%20ID%20Proofing%20Good%20Practices_en_0.pdf
-
ISO/IEC work on biometric injection attack detection (drafts / work items) — watch ISO CEN collaborations for international alignment. oai_citation
Text
Injection Testing
By Ted Dunstone
Injection Testing
- 118